ラスカ茅ヶ崎店
2022
04
Mar
たっぷり入るトートバッグのつくり方
マーノクレアール ラスカ茅ヶ崎店、
スタッフさとです。
只今、ラスカ茅ヶ崎店では、
あの!マリメッココーナーを展開中です。
フィンランド語で「小さなマリーのためのドレス」という意味のマリメッコは、1951年に設立された独創的なプリントや色使いで世界中から愛されているフィンランドのブランドです。テキスタイルから生活雑貨、ファッションアイテム、食器などを展開し、とても人気のブランドです。
今回、そんなマリメッコの生地を
余すところなく使って作る、
たっぷり入るトートバッグ
できあがりサイズ
上部幅 : 46cm
下部幅 : 41cm
高さ : 38cm
マチ : 5cm
持ち手の長さ : 約30cm

の作り方をご紹介します。
使用する生地はこちら!
規則的に並んだ果実や野菜が可愛らしい。
Kompotti (コンポッティ)。

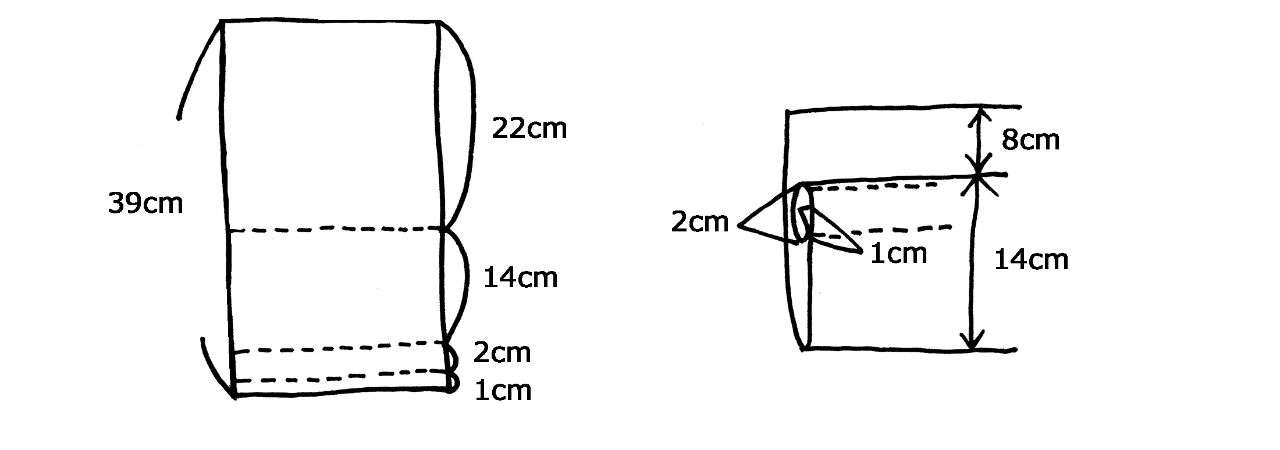
① 生地を下図の寸法で裁断する。

※ 縫い代は②は2cm、それ以外は1cm付けます。

② 持ち手をつくる。(C)

1.5cm内側に倒してアイロンをかける。
4本作ったら、2枚外表に合わせて両端を縫う。これを2本作る。
③ 内ポケットをつくる。(D)

下から1cm → 2cmと縫い代を折り、ステッチをかけ、14cmのところで折る。

両側を1cmの三つ折りにして、表側にステッチをかける。
④ 本体を縫う。(A)

中表に合わせたら底部分を縫い合わせる。
縫い代は割らずに合わせたまま、ロックミシン又はジグザグ処理する。
両端とマチを縫い、表に返しておく。
縫い代の処理は底部分と同様。
⑤ 口布を縫う。(B)

両端を縫う。
縫い代は③と同様の処理。
下を1cm内側にに折りぐるっとアイロンをかける。
⑥ 持ち手をつける。

持ち手を本体に仮縫い止める。
⑤で作った口布を本体に中表にして、口から2cmのところを持ち手も一緒にぐるっと縫う。口布を外表にし内側に入れ、口の部分にアイロンをかける。
⑦ バッグの口をぐるっと縫う&内ポケットを縫う。

本体をもう一度中表にし、内ポケットを中央の位置に置き、口布の中に縫い代を入れ、バッグの口をぐるっと縫い表に返す。

ラスカ茅ヶ崎店オリジナルレシピになります。

オンラインショップのご注文は、店舗受取&店舗支払もできます。店舗支払いご利用の場合は、オカダヤのポイント(会員のお客様)もJREポイント(アプリ登録又はカードお持ちのお客様)も付いちゃいます!
是非ご利用下さいませ。
使用材料
商品コード : 6411253888484
税込 7,700/m
マリメッココーナーでは2/16の手作りブログでもご紹介しました、

「簡単!マリメッコ生地で作る丸型クッション」の他にも、プータルフリンパルハートの生地で作る大人エプロンやポットホルダーのレシピ(ラスカ茅ヶ崎店オリジナルレシピ)もご用意しております!是非ご利用下さいませ。

\ marimekkoコーナー展開中 /
自分へのちょっとしたご褒美や、おうち時間のほっこりアイテム、お友達へのプレゼントにいかがでしょうか?


